안녕하세요 니~킥입니다.

2인승 차 두 대 붙여 4인승 변신 가능한 차가 개발이 되었다고 합니다.
만화에서 본 것처럼 차가 서로 결합을 할 수 있다고 합니다.
자세한 소식 알아보겠습니다.
2인승 차 두 대 붙여 4인승 변신 가능한 현대차그룹.. 또봇이 현실화?
현대차그룹이 결합과 분리가 가능한 마이크로 모빌리티 기술을 확보했다고 합니다.
향후 전기차에 적용될 경우 2인승 마이크로 모빌리티 군집 주행 구현에 활용될 것으로 예상된다고 합니다.
현대차·기아는 이 같은 내용을 담은 '분리 및 결합이 가능한 차량 및 그 제어방법'이라는 특허를 출원한 것으로 7월 21일 확인됐다고 합니다.
해당 기술은 자율주행 소프트웨어(SW)를 활용한 군집 주행이 아닌 물리적 연결을 통한 군집 주행이 목적이라고 합니다.

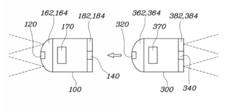
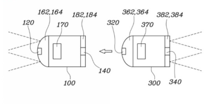
<<부호의 설명>>
100 : 차량 300 : 타차량 120 : 전방연결부 140 : 후방연결부
162 : 전방감시부 164 : 전방부품 182 : 후방감시부 184 : 후방부품
2인승 초소형 마이트로 모빌리티가 다른 차량과 결합하면 각각의 제어기가 상호 통신해 명령을 전달하거나 충돌 신호 및 예상 신호를 공유해 대응하는 체제를 갖춘다고 합니다.
에너지 효율성 관리를 위해 다른 차량과 연결될 경우 전방 또는 후방에 탑재한 부품 동작을 종료한다고 합니다.
전방 헤드라이트, 전방 방향 지시등, 후방 제동등, 후진등, 후방방향 지시 등의 경우 가장 앞 차량과 뒤 차량만 작동하면 운행에 지장이 없기 때문이라고 합니다.
전·후방 상황을 감지하는 카메라, 레이더, 라이다, 초음파, 적외선 등 센서도 선두 차량과 후미 차량만 작동하게 한다고 합니다.
또 차량 구동에너지 잔량이 연결된 차량보다 적으면 구동 에너지 공급을 중단하고 충전을 진행해 분리 후 운행에 대비한다고 합니다.
대신 충전량을 계산해 상대방 차량에 적절한 크레딧을 제공한다고 합니다.
결합 상태에서의 운행에 지장이 없도록 구동에너지 부족으로 부품 구동을 중지할 때는 다른 차량에 부품 구동제어 권한을 부여한다고 합니다.
사고 피해 최소화를 위한 대응 메뉴얼도 마련되었다고 합니다.
전방 또는 후방에 연겨뢴 상태에서 충돌이 예상될 경우 타차량과 연결을 해제한다고 합니다.
또, 충돌 직전 시야가 확보되지 않은 뒤ㅜ 차량에 충돌 예상 신호를 공유하고 충돌 반대 방향으로 조향하거나 제동하도록 차량이 지원해 운전자 및 승객 안전을 확보한다고 합니다.
예상하지 못한 상태에서 충돌이 발생할 경우에는 차량을 분리하지 않는다고 합니다.
확률적으로 더 안전하기 때문인데, 출돌 상황을 공유해 각 차량의 에어백 등 안전장치로 공동 대응하는 것이라고 합니다.
현대차·기차는 "본 발명은 전기차나 연료전지차량 등 배터리와 모터를 통해 구동되는 차량 적용에 적합하며 내연기관 차량도 적용이 가능하다"면서 "또 다양한 차종에 모두 적용 가능할 것이지만 2인승 차량 등 미래형 마이크로 모빌리티에 적합할 것"이라고 설명했다고 합니다.
그럼 지금까지 2인승 차 두 대 붙여 4인승 변신 가능한 현대차그룹에 대해 알아보았습니다.
감사합니다.
'정보꿀팁 > 자동차' 카테고리의 다른 글
| '라이다' 자율주행의 안전성 향상을 위한 기술 급부상 (0) | 2021.07.25 |
|---|---|
| 셀포스그룹 고성능 베터리 생산 (0) | 2021.07.25 |
| 폭스바겐 신형 티구안 올스페이스 & 아틀라스 가솔린(신형 티구안 가격) (0) | 2021.07.24 |
| 2022 니로 하이브리드 풀체인지 (0) | 2021.07.24 |
| 기아 셀토스 2022 출시(1944~2750만원) (0) | 2021.07.23 |
댓글